质量稳定:实行全过程质量监控,细致入微,全方位检测!
价格合理:内部成本控制,减少了开支,让利于客户!
发货快捷:先进生产流水线,充足的备货,缩短了交货期!
GL41F3-16C、GL41F46-16C 全衬里(衬氟)Y型过滤器阀体内部构件均为衬里部件,使产品在几乎所有强酸、强碱、盐、强氧化剂和有机溶剂等介质中均能适用。
| 型号 | PN | 工作压力 (MPa) |
|---|---|---|
| GL41F3-16C | 16 | 1.6 |
| GL41F46-16C |
| 型号 | 材料 | |||
|---|---|---|---|---|
| 阀体、阀盖 | 过滤网 | 螺栓、螺母 | 衬里层 | |
| GL41F3-16C | HT250、WCB | PTFE(F4) | 35、45 | FEP(F46)、PCTFE(F3) |
| GL41F46-16C | ||||
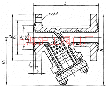
| DN | DN/in | L | D | D1 | D2 | b | f | z×ø | H1 | H | 重量/kg |
|---|---|---|---|---|---|---|---|---|---|---|---|
| 20 | ¾ | 150 | 105 | 75 | 55 | 16 | 2 | 4×ø14 | 70 | 122 | 3.3 |
| 25 | 1 | 160 | 115 | 85 | 65 | 16 | 2 | 4×ø14 | 78 | 135 | 4.2 |
| 32 | 1¼ | 180 | 135 | 100 | 78 | 18 | 2 | 4×ø18 | 86 | 154 | 6.6 |
| 40 | 1½ | 200 | 145 | 110 | 85 | 18 | 3 | 4×ø18 | 92 | 164 | 7.3 |
| 50 | 2 | 230 | 160 | 125 | 100 | 20 | 3 | 4×ø18 | 102 | 182 | 12 |
| 65 | 2½ | 290 | 180 | 145 | 120 | 20 | 3 | 4×ø18 | 115 | 205 | 16 |
| 80 | 3 | 310 | 195 | 160 | 135 | 22 | 3 | 8×ø18 | 135 | 232 | 23 |
| 100 | 4 | 350 | 215 | 180 | 155 | 24 | 3 | 8×ø18 | 156 | 263 | 32 |
| 125 | 5 | 400 | 145 | 210 | 185 | 26 | 3 | 8×ø18 | 248 | 370 | 39 |
| 150 | 6 | 480 | 180 | 240 | 210 | 28 | 3 | 8×ø18 | 285 | 425 | 52 |
| 200 | 8 | 495 | 335 | 295 | 265 | 30 | 3 | 12×ø23 | 362 | 530 | 89 |

不断提升服务质量,精益求精,“真诚的服务”是赏金国际永恒的主题。赏金国际严格按照 ISO9001-2000 质量体系认证要求,质量严格把关,责任到人,确保生产、销售、服务的健康运行。加强与用户沟通,竭诚为广大客户提供优质产品,至善至美服务,特此我厂做出如下承诺:
产品严格按照中国 GB、HG 标准和美国 API 等标准设计、制造、验收。密封面硬度达到国家规定要求,宽度超过国家标准。
产品介绍,技术交流,非标产品设计,疑难解答
销售热线:
138-0532-3165 137-0898-7179